回到首页

带十字孔的 U 形夹

1 个评论 since 21.06.2021
描述

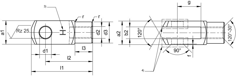
Clevis with hardened cross hole


If the clevis is subject to particularly strong alternating tensile and compressive forces, the cross hole can deform, drastically shortening the service life. To prevent this, mbo Osswald offers a clevis with a hardened cross hole. A specially developed hardening procedure increases the service life of the product several times. Rapid deformation of the cross hole is prevented and production safety is significantly increased.

欲查找所需货品,您可任选不同筛选标准 ,或在表格顶部搜索文本或文本和货号
欲再次取消筛选器设置,请单击表格下方的“清空”按钮。
欲显示产品详细信息和 3D 模型,可单击与所需货品对应的行。